
Published in December of 2021, Ford’s recent patent for a unique “air venting system” has raised our eyebrows. And the reason is simple: it looks like this is a potential climate control setup for a truck bed.
But…why?

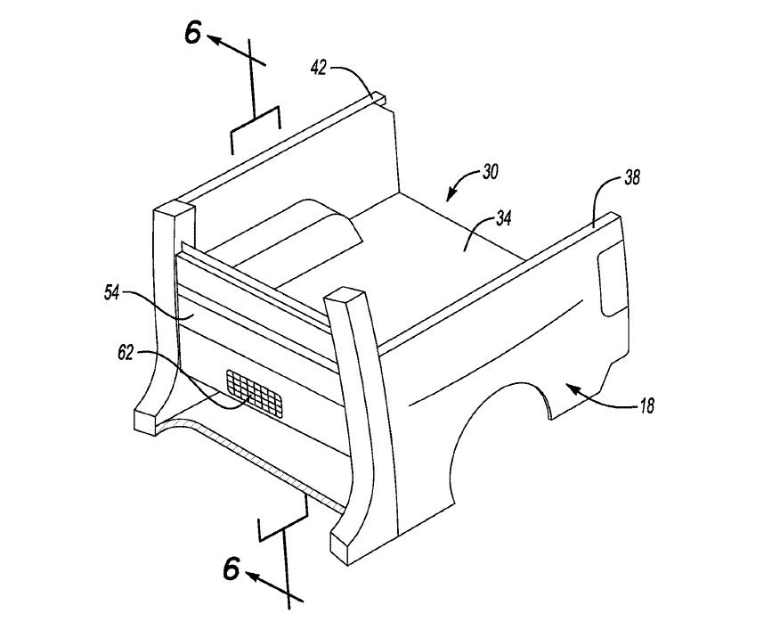
While its language is pretty technical, the patent document describes a clever ventilation system seemingly designed for moving air from the passenger compartment into the cargo box.
Again, though…why?
Well, here are a couple of (wild!) guesses:
- Maybe it’s to help delivery companies transport temperature-sensitive cargo, like flowers, lasagna, or live trout?
- Maybe the Blue Oval has noticed the uptick in Overlanding’s popularity?
- Or maybe, just maybe, it’s a stepping stone for a battery cooling system and further electric integration?

Ok, so those are just some wacky theories—but perhaps what’s really curious is that this setup seems destined (at least partially) for the Maverick, Ford’s new compact pickup truck.
We say that because the patent illustrations sort of mimic the Maverick bed silhouette and there are statements in the document that say things like “the truck can be a unibody truck.”
Given that the Maverick is Ford’s sole unibody truck, it’s kind of an obvious call.
And Ford’s made plenty of hubub about the Maverick’s fancy new FLEXBED system too, highlighting features like its multi-position tailgate, anchor points, and electrical power outlets.
Maybe cooling is the next frontier?

How about air circulation to remove moisture between the liner and bed to reduce the amount of rust?.
Found this article because I am looking for an air conditioned truck bed. I traded in my GMC Sierra with a secure rollback lid on the bed for a horrendous Chevy Traverse, but with the 3rd row flat, I can pack this baby with wine…that needs to stay cool, but I hate it! Looks like a minivan and is mostly gutless, despite it handling extremely well. Considering a Toyota 4Runner or going back to a truck but need AC in the bed but I don’t want a shell!